騒音に係る環境基準の評価マニュアル(一般地域編)

環境省|平成27年10月
原典を見る

騒音に係る環境基準の評価マニュアル(道路に面する地域編)

環境省|平成27年10月
原典を見る

本ページは原典を学習用に再構成したものです。最新・正式な内容は原典をご確認ください。

2. 評価方法

2.1 評価方法の概要

「道路に面する地域」の評価は、評価範囲内のすべての住居等のうち環境基準の基準値を超過する戸数及び超過する割合を算出する方法により行う。

また、個別の住居等の騒音レベルを個別に評価する場合も本マニュアルに準じて行うこととする。

解説

告示においては、騒音レベルの評価指標を等価騒音レベル(LAeq,T)とし、その評価位置については個別の住居等の「騒音の影響を受けやすい面」を原則とすることとされている。

また「道路に面する地域」における地域としての評価方法は、「原則として一定の地域ごとに当該地域内のすべての住居等のうち環境基準の基準値を超過する戸数及び超過する割合を把握することにより評価するものとする」(告示)とされており、面的評価とも呼ばれる。

これは、道路交通騒音の発生源である道路・交通とともに、沿道の都市構造にも目をむけた評価方法とすることにより、「道路に面する地域の実態に即した効果的な沿道対策を促す視点を加えるなど、道路交通騒音対策の推進に環境基準が目標としてより効果的に機能しうるものとする」(答申)ことを目指したものである。

このため面的評価においては、背後地を含めた沿道における騒音の状況を面的に把握するとともに、評価範囲の住宅等の分布状況を把握する必要がある。

しかし全ての住居等の騒音の状況や分布状況を把握するのは現実的には困難なため、「各種の推計モデルを用いた計算による騒音の推計手法」(例えば一般社団法人日本音響学会が提案するASJ RTN-Model推計モデル等)を用いて面的評価を実施することが望ましい。

2.2 地域類型と環境基準

①「道路に面する地域」の環境基準

環境基準に係る評価は、「道路に面する地域」の地域の類型及び時間の区分ごとに定められた基準値との比較によって行うものとする。また、その評価は個別の住居等が影響を受ける騒音レベルによることを基本とし、住居等の用に供される建物の騒音の影響を受けやすい面における騒音レベルによって評価するものとする。

「道路に面する地域」の地域の類型及び時間の区分ごとの環境基準は、表2-1のとおりである。

表2-1 「道路に面する地域」の地域の類型及び時間の区分ごとの環境基準

地域の区分基準値(昼間)基準値(夜間)
A地域のうち2車線以上の車線を有する道路に面する地域60dB以下55dB以下
B地域のうち2車線以上の車線を有する道路に面する地域及びC地域のうち車線を有する道路に面する地域65dB以下60dB以下

備考:車線とは、1縦列の自動車が安全かつ円滑に走行するために必要な一定の幅員を有する帯状の車道部分をいう。この場合において、幹線交通を担う道路に近接する空間については、上表にかかわらず、特例として表2-2の基準値の欄に掲げるとおりとする。

(注)

  1. 時間の区分は、昼間を午前6時から午後10時までの間とし、夜間を午後10時から翌日の午前6時までの間とする。
  2. Aを当てはめる地域は、専ら住居の用に供される地域とする。
  3. Bを当てはめる地域は、主として住居の用に供される地域とする。
  4. Cを当てはめる地域は、相当数の住居と併せて商業、工業等の用に供される地域とする。

②「幹線交通を担う道路に近接する空間」の環境基準

「幹線交通を担う道路に近接する空間」の時間の区分ごとの環境基準は、表2-2のとおりである。

表2-2 幹線交通を担う道路に近接する空間の環境基準

基準値(昼間)基準値(夜間)
70dB以下65dB以下

③ 屋内へ透過する騒音に係る基準

【告示 第1の1 幹線交通を担う道路に近接する空間 備考】:

個別の住居等において騒音の影響を受けやすい面の窓を主として閉めた生活が営まれていると認められるときは、屋内へ透過する騒音に係る基準(昼間にあっては45dB以下、夜間にあっては40dB以下)によることができる。

【告示 第1の2(1)】:

評価は、個別の住居等が影響を受ける騒音レベルによることを基本とし、住居等の用に供される建物の騒音の影響を受けやすい面における騒音レベルによって評価するものとする。この場合において屋内へ透過する騒音に係る基準については、建物の騒音の影響を受けやすい面における騒音レベルから当該建物の防音性能値を差し引いて評価するものとする。

【告示 第2の2】:

道路に面する地域のうち幹線交通を担う道路に近接する空間の背後地に存する建物の中高層部に位置する住居等において、当該道路の著しい騒音がその騒音の影響を受けやすい面に直接到達する場合は、その面の窓を主として閉めた生活が営まれていると認められ、かつ、屋内へ透過する騒音に係る基準が満たされたときは、環境基準が達成されたものとみなすものとする。

解説

①「道路に面する地域」の環境基準

屋外における評価を基本とする。

③ 屋内へ透過する騒音に係る基準

建物の防音性能については、通常の建物において窓を開けた場合の平均的な内外の騒音レベル差(防音効果)は10dB、窓を閉めた場合は建物によって必ずしも一様でないが、通常の建物においておおむね期待できる平均的な防音性能は25dB程度であると考えられる(答申)。

この場合の防音性能は、外観から見込まれる窓閉め時の建物構造による防音性能の値を推定することにより把握するものとし、当分の間、表2-3等を参考に設定する。

表2-3 建物構造による防音性能値

窓の種別RC、モルタル(注1)、サイディング在来型木造
二重窓、固定窓35dB/30dB(注2)30dB(注3)
防音型サッシ30dB(注4)25dB(注3)

(注)防音型サッシ:防音型一重引き違いサッシのほか、気密型の開き窓、回転式の窓も含む。

  1. 木造モルタルのうち、ひび割れ、隙間等の補修が必要と思われる建物については在来型木造として扱う。
  2. 二重窓のうち、調査対象面の面積の総和が1間の掃き出し窓相当以下の場合で、換気口がない又は防音型の換気口を使用している場合に限り、防音性能値は35dBとする。
  3. 在来型木造のうち、明らかに隙間が目立ち補修が必要と思われる建物については、防音性能値は20dBとする。
  4. 可動部分の幅の合計が1間以内の場合に限る。可動部分の幅の合計が1間を超える場合は、防音性能値は25dBとする。

2.3 評価対象の条件把握

(1) 評価区間の道路条件の把握

1) 把握すべき道路条件の内容

評価区間について以下の道路条件を調査する。

  1. 道路構造、車線数、幅員等
  2. 舗装種別
  3. 遮音壁設置状況等
  4. 交通条件等

解説

道路条件は、評価区間すべてについて把握する。

  • 観測区間の道路条件は、当該区間を代表する地点として選定した騒音測定断面の道路条件とする。
  • 非観測区間の道路条件も、観測区間との類似性を判定し、対応する観測区間を定めるための重要な指標ともなるため、その区間の騒音暴露状況を把握する上で代表すると思われる地点(又は断面。基本的には、沿道に住居等が分布する延長が最も長く、交差点やアンダーパス等特殊な構造ではない箇所)を選定する。

①道路構造、車線数、幅員等

実際の車両走行位置(音源位置)と測定地点の位置関係など、騒音の道路内での発生及び伝搬条件が把握できるように、道路構造(平面、盛土、高架、堀割等)及び表2-4に示す道路の横断面の構成図の幅員、測定地点からの路面の高さ等を調査する。また高架構造の道路に併設して平面道路がある場合や、自動車専用道路の両側に側道等をそなえる道路などの場合には、各々の道路について調査する。

②舗装種別

舗装種別は、アスファルト舗装、コンクリート舗装及びその他の舗装種(未舗装等)の別を調査する。また、低騒音舗装(排水性舗装)が敷設されている場合は、経年変化により騒音低減効果が下がるため、密粒舗装と区別し、敷設履歴等を記録する。

③遮音壁の設置状況等

遮音壁、環境施設帯などが設けられている場合はその位置、規模、路面からの高さ等を調査する。

④交通条件等

騒音の大きさに影響を与えると思われる交通条件(走行速度、規制速度、車種別交通量、大型車類混入率、交差点付近における加減速の有無等)について調査することが望ましい。

(2) 評価区間の沿道条件の把握

1) 把握すべき沿道条件の内容

評価区間における環境基準の評価のため、評価範囲に立地する建物の属性及び住居等の戸数を把握する。

沿道建物の属性として以下の項目を把握する。

  1. 建物用途(独立住宅、集合住宅、併用住宅、学校・病院等、その他非住居系)
  2. 建物構造(コンクリート造/その他)
  3. 住居等戸数
  4. 道路との位置関係
  5. 建物位置の環境基準に係る地域の類型

解説

評価範囲内の住居等戸数を把握することは、騒音レベルの把握と同様に重要である。そのため建物1戸1戸の位置を記録した図面情報とともに、個別建物ごとの用途、構造、環境基準に係る地域の類型、道路からの距離等の属性を把握しておくことが必要となる。

建物の属性は以下のように整理する。

①建物用途(独立住宅、集合住宅、併用住宅、学校・病院等、その他非住居系)

建物用途は、環境基準の評価対象であるか否かを判断するものであり、建物1棟ごとに用途を判断し整理する。学校・病院等の「等」には、図書館、美術館などの教育施設、保育園、老人ホーム等の社会福祉施設が含まれる。市役所、公民館等の公共施設は含まれない。

②建物構造(コンクリート造/その他)

建物構造は、沿道が「騒音に強い街並み」となっているかどうかを判断する指標のひとつとして、今後の沿道対策を検討する上で重要な建物属性と言える。このため、他の属性と合わせて調査することが望ましいが、図面情報のみからデータを作成し、構造まで判断できない時は未調査としておく。なお、都市計画地図では太い実線で囲まれた住宅がおおむねコンクリート造住宅であると見なしてよい。

③住居等戸数

住居等戸数は、告示に示されている「基準値を超過する戸数及び超過する割合」を把握するための基本単位となるものであり、建物の物理的な戸数(棟数)ではなく、むしろ夜間人口をベースとした世帯数と捉えるべきである。このため、調査する建物ごとに「居住している世帯数=戸数」を把握する。

独立住宅や小規模の商・工業併用住宅は、「2世帯住宅」等の場合も考えられるが、外見等からの判断が難しいことから「1戸」とする。

病院・学校等については居住実態が無く、夜間人口をベースとした「世帯」とは異質の施設であるが、当面「1施設=1戸」として他の住居等と合算して評価する。集計等に際して学校・病院等を分けて評価する必要がある場合には内数として表示する。

2) 沿道条件の整理方法

評価区間ごとに、評価範囲に立地する建物の属性を調査し、帳票にまとめる。交差点に近い位置で複数の評価区間に属する建物については、評価区間別にそれぞれ独立して帳票にまとめる。

解説

評価区間沿道の建物属性を、非住居系建物も含め、沿道に立地する建物1棟ごとに、例えば表2-5に示すような様式で整理する。

2.4 騒音レベルの把握

(1) 推計による場合

推計により受音点等における騒音レベルを把握する場合は、騒音発生強度、道路条件および沿道条件を予め把握し、これらを基に推計モデル等を用いて算出するものとする。

解説

①基本的な考え方

評価区間ごとに騒音発生強度、道路条件および沿道条件を予め把握し、これらを基に推計モデル等を用いて環境基準超過戸数及びその割合を把握しようとするものである。

  • 騒音発生強度は、評価区間内では一定とみなし、道路近傍地点で測定又は推計等により把握する。詳細は、「2.4(1)1) 騒音発生強度の把握」を参照すること。
  • 特定の評価区間における評価範囲内の受音点等の騒音レベルは、その区間を代表する騒音発生強度を用いて、伝搬理論式又は模型実験等により求められた推計式等に基づく推計モデル(例えば一般社団法人日本音響学会が提案するASJ RTN-Model)により把握する。詳細は、「2.4(1)2) 受音点等における騒音レベルの把握」を参照すること。

②残留騒音の取扱

残留騒音は、基本的に実測により調査する。測定する残留騒音は、個別の住居等の騒音レベルを推計する際に、対象道路からの騒音レベルと合成されることから、等価騒音レベルでなければならない。しかしながら、残留騒音を等価騒音レベルで測定するためには、特定騒音を全て取り除く必要があり、この作業は非常に煩雑かつ困難である。したがって、測定が容易であり、かつ変動する騒音レベルの下端値に近い、95%時間率騒音レベル(90%レンジの下端値;LA95)の値を残留騒音として採用してもよい。

なお、残留騒音は、対象道路からの騒音レベルと合成して評価する際に使用するため、小数第一位まで求めておくこととする。

③複数の評価区間に属する建物の処理

交差点部の建物などでは、1つの建物が複数の評価区間に属する場合が生じる。このような建物の受ける騒音の影響を評価する場合は、2つの道路からの騒音を合成した騒音レベルで評価する必要がある。

図 2-1 複数の評価区間に属する建物の評価範囲の概念図

1) 騒音発生強度の把握

騒音発生強度の把握は、道路端における実測によることを基本とする。ただし要件を満たす場合は、自動車の交通量及び速度の測定結果により推計する方法、または、他の区間の騒音発生強度を準用する方法によることができる。

解説

騒音発生強度の把握方法には、表2-6に示す3種類があり、a)以外の方法を選定できる場合の要件を図2-2に示す。

図 2-2 騒音発生強度の把握方法の選定フロー

表2-6 騒音発生強度の把握方法

方法内容
a) 実測する方法評価区間を代表する地点の道路端における騒音レベルを測定する。
b) 推計する方法評価区間を代表する地点で時間帯別の平均的な走行速度及び交通量を把握して、最新の道路交通騒音の予測モデルにより騒音発生強度を計算する。
c) 他の区間の準用又は過去の騒音発生強度を活用する方法他の評価区間と道路交通に伴う騒音の発生強度が概ね一定とみなせる場合、他の区間の騒音発生強度を当該区間の騒音発生強度として準用する。また、過去数年以内に同一の評価区間内の騒音発生強度を測定、または推計している場合、その結果を活用してもよい。

b)「推計する方法」の選定要件

時間帯別の交通量と平均的な走行速度を用いて、最新知見に基づく道路交通騒音の予測手法(例えば一般社団法人日本音響学会が提案するASJ RTN-Model)を適用することにより、騒音発生強度を計算する方法も採用できる。ただし、騒音発生強度に地域固有の偏差を反映できないので注意が必要である。

道路交通センサス調査結果のように、12時間交通量のみ把握可能である場合は、時間帯別に平均的な走行状況が不明なため、実測する方法を採用する。なお、場合によっては、周辺の道路における交通条件の時間変動パターンを参考にして夜間の走行状況を推計し、騒音発生強度を計算する方法を適用してもよい。

また、時間帯別の平均的な走行状況の実測データが得られる場合は、そのデータを騒音発生強度の計算に利用することができる。

c)「他の区間を準用する方法又は過去の騒音発生強度を活用する方法」の選定要件

他の評価区間と道路交通に伴う騒音の発生強度が概ね一定とみなせる場合、他の区間の騒音発生強度をもって、当該区間の「騒音発生強度」に設定することができる。ただし、過去に実施した調査を活用する場合でも、時間が経過し、交通量が変化している場合は、騒音発生強度も変化している可能性が高く、見直しが必要であるため選定してはならない。

2) 受音点等における騒音レベルの把握

受音点等における騒音レベルの把握は、計算による方法を基本とし、要件を満たす場合に限り既存資料の準用による方法によることができる。

解説

個別住居等の騒音レベルの把握方法には、表2-7に示す2種類の方法がある。なお、騒音発生強度が環境基準値以下の評価区間においては、「2.5. 評価方法」に示すとおり受音点等における騒音レベルを把握しなくてもよい場合がある。

表2-7 受音点等における騒音レベルの把握方法

方法内容
a) 計算による方法個別住居等に到達する騒音レベルを計算により把握する方法。個別計算による方法:個々の受音点における騒音レベルを距離減衰量及び建物群による減衰量から個別に計算する方法。区間計算による方法:対象道路から距離が一定の計算範囲を設定し、これを道路近接建物列と背後建物群に大別してモデル化し、建物群の背後における計算範囲毎の平均的な騒音レベルを計算する方法。
b) 既存資料の準用による方法騒音発生強度及び沿道条件が同様であり、騒音レベルが同様と推定できる場合、他の区間における推計結果を準用できる。

a)「個別計算による方法」と「区間計算による方法」の使い分け方

両者に厳密な使い分け方の基準はなく、評価者の判断によって使い分けることができる。ただし、「区間計算による方法」は、沿道の建物が道路からの距離帯別に類似の建物立地でなければ適切に計算できないことがあるため、留意が必要である。

沿道の建物の立地状況の詳細は、地図情報や現地調査により対象区間の土地利用を把握することが望ましく、これらの情報を把握できる場合は、「個別計算による方法」を用いる方が詳細な評価を行うことができる。

実用上、複雑な地図情報を自動的に読み込める場合は、「個別計算による方法」を用い、それが難しい場合は、「区間計算による方法」を用いることが効率的である。

b)「既存資料の準用による方法」の選定要件

異なる評価区間において、騒音発生強度及び建物配列等沿道条件が同様であり、受音点等における騒音レベルが同様と推定できる場合に限り、他の区間における推計結果(既存資料)を準用できる。

  • 沿道の建物の形状、高さ及び配置が準用元となる評価区間と同程度である場合に、個別計算の結果を準用できる。
  • 背後建物群の奥行き、道路近接建物列の間隙率、背後建物群の建物立地密度等、区間計算に利用する全てのパラメータが準用元となる評価区間と同程度である場合に、区間計算の結果を準用できる。

(2) 測定による場合

測定により受音点等における騒音レベルを把握する場合は、個々の住居等に騒音測定器を設置し、直接測定により求めるものとする。

解説

測定による把握は、特にその必要がある場合のほか、個々の住居等を対象として騒音対策を検討するにあたり騒音レベルを個別に把握する必要がある場合等において実施する。

測定は「3. 騒音等の測定方法」に従い行うこととする。なお、受音点での騒音レベルを直接測定するために建物の外壁面の近くに騒音計を設置することが多いことから、特に反射音の影響が生じないように注意し、影響が無視できない場合には「3.5(2) 反射音の補正等の方法」に従い適切な補正を行うこととする。

2.5 評価方法

「道路に面する地域」の面的評価は、評価範囲内の近接空間/非近接空間区分、及び環境基準に係る地域の類型ごとの騒音レベル別住居等戸数を算定し、「道路に面する地域」の環境基準値を超過する住居等の戸数及びその割合を算出することにより行う。

解説

評価範囲にある全ての受音点等における騒音レベルを把握した結果をもとに、近接空間/非近接空間の区分及び地域の類型ごとの、騒音レベル別住居等戸数を求めることにより、環境基準値を超過する戸数及びその割合を算出する。

騒音発生強度の値(注:推計又は測定の位置が、道路端又は道路側の場合に限る)が、非近接空間における環境基準値(注:近接空間の特例値ではない)以下の評価区間においては、全ての「道路に面する地域」の住居について環境基準達成とみなし、住居等個数を算出することができる場合がある。

ただし、上記の場合であっても、例えば、道路構造が盛土または高架構造の場合は、騒音レベルが道路端よりも背後地で高くなる可能性があり、環境基準を超過する場合があるので留意が必要である。

なお、面的評価の結果については、全体から環境基準値を超過する住居等の割合を差し引き、「環境基準達成率」として表記する場合が多い。

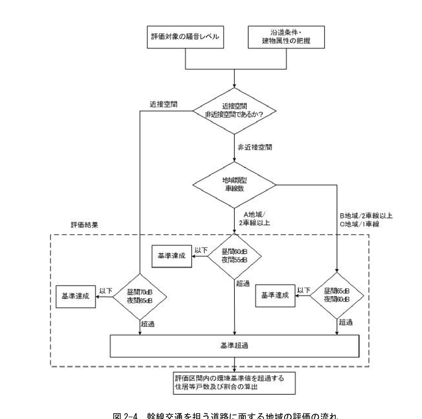
騒音レベル別住居等戸数算定・評価に至る流れを図2-3に示す。ただし、幹線交通を担う道路に面する地域を対象とする場合は、図2-4に示す流れに従って評価する。

図 2-3 道路に面する地域の評価の流れ

図 2-4 幹線交通を担う道路に面する地域の評価の流れ

2.6 評価結果の活用

「敷地の騒音状況に関する情報提供や住宅の防音性能を入居者に対して明示させる方策等を確立」(答申)するための基本的な情報として、「騒音マップ」等を作成し活用する。

解説

評価の流れの中で最終的に得られるものは、住居等の環境基準の達成戸数及び達成割合であるが、その過程で得られた道路、沿道建物及び騒音に関する情報は、道路交通騒音対策を進めるにあたって重要な情報であり、関係部局とも連携を取りつつ活用していくことが望ましい。

また、評価の過程で推計した建物ごとの騒音レベルは「敷地の騒音状況に関する情報提供や住宅の防音性能を入居者に対して明示させる方策等を確立」(答申)するための基本的な情報として「騒音マップ」等により公開していくことも考えられる。ただし、公開にあたっては、ここで表された騒音が様々な前提や仮定の基で推計されたものであることを充分理解してもらう必要がある。